Logitech MeetUp là một thiết bị hội nghị truyền hình cao cấp với trường nhìn siêu rộng, giúp tất cả mọi người trong phòng họp cảm thấy được kết nối và cải thiện chất lượng giao tiếp. Bài viết này sẽ hướng dẫn bạn cách cài đặt Logitech MeetUp một cách chi tiết, dễ hiểu, từ việc kiểm tra nội dung hộp, kết nối thiết bị, đến cách sử dụng điều khiển từ xa và ghép nối Bluetooth. Hãy cùng bắt đầu!
Trong hộp Logitech MeetUp có gì?
Trước khi bắt đầu cài đặt, hãy kiểm tra các phụ kiện đi kèm trong hộp sản phẩm Logitech MeetUp để đảm bảo bạn có đầy đủ các thành phần cần thiết:

- Camera hội nghị Logitech MeetUp
- Điều khiển từ xa (Remote Control)
- Cáp USB 2.0 5m
- Nguồn điện (Power Supply)
- Giá đỡ gắn tường
- Phần cứng gắn tường
- Hướng dẫn sử dụng
- (Tùy chọn) Micro mở rộng (Optional Expansion Microphone)
*Lưu ý: Nếu bạn dự định sử dụng video 4K, cần chuẩn bị cáp USB 3.0 (không đi kèm trong hộp).
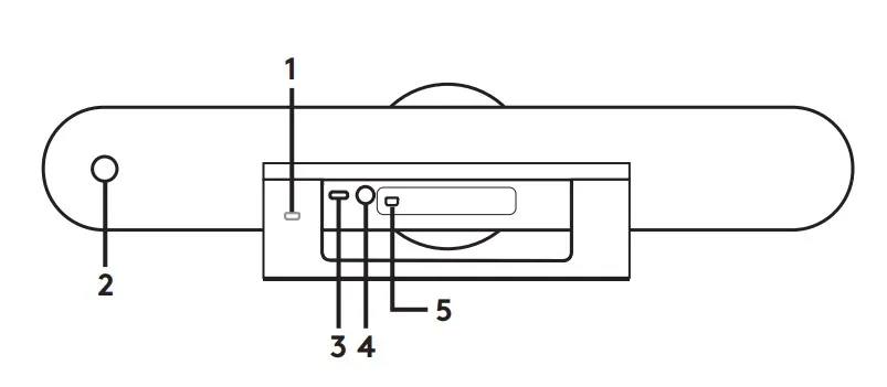
Các thành phần của thiết bị
Hiểu rõ các thành phần của camera hội nghị Logitech MeetUp sẽ giúp bạn cài đặt và sử dụng dễ dàng hơn:

- Rãnh bảo mật (Security Slot): Dùng để gắn khóa bảo mật, đảm bảo an toàn cho thiết bị.
- Nút ghép nối điều khiển từ xa (Remote Control Pairing): Dùng để kết nối điều khiển từ xa với camera.
- Cổng USB: Kết nối camera với máy tính.
- Nguồn điện (Power): Cổng kết nối với nguồn điện.
- Micro mở rộng (Optional Expansion Microphone): Tùy chọn để mở rộng phạm vi thu âm trong phòng họp lớn.
Chức năng của điều khiển từ xa
Điều khiển từ xa của Logitech MeetUp được thiết kế với các nút chức năng tiện lợi:

- Tắt tiếng micro (Microphone Mute): Tắt/bật micro để kiểm soát âm thanh.
- Nhận cuộc gọi (Call Answer): Bắt đầu cuộc gọi (lưu ý: không phải mọi ứng dụng đều hỗ trợ).
- Kết thúc cuộc gọi (Call End): Ngắt cuộc gọi (lưu ý: không phải mọi ứng dụng đều hỗ trợ).
- Ghép nối Bluetooth (Bluetooth Pairing): Kết nối thiết bị Bluetooth.
- Tăng/giảm âm lượng (Volume Up/Down): Điều chỉnh mức âm lượng.
- Phóng to/thu nhỏ (Zoom In/Out): Điều chỉnh góc nhìn của camera.
- Di chuyển camera (Camera Pan/Tilt): Điều chỉnh hướng camera lên/xuống, trái/phải.
- Vị trí gốc của camera (Camera Home): Đưa camera về vị trí mặc định.
- Cài đặt trước camera (Camera Preset): Lưu và truy cập các góc camera đã cài sẵn.
Lựa chọn vị trí đặt thiết bị
Vị trí đặt của camera hội nghị Logitech MeetUp ảnh hưởng lớn đến trải nghiệm hội nghị. Dưới đây là các gợi ý để đạt kết quả tốt nhất:
⭐Đặt trên bàn hoặc kệ: Đặt thiết bị gần màn hình, lý tưởng nhất là ở vị trí ngang tầm mắt để tạo cảm giác tự nhiên khi giao tiếp. Sau đó kết nối với cáp.
⭐Gắn lên tường:
- Gắn giá đỡ vào tường, sử dụng loại vít phù hợp với chất liệu tường (gỗ, bê tông, thạch cao…).

- Gắn camera vào giá đỡ một cách chắc chắn.

⭐Gắn lên TV: Tìm kiếm giá đỡ gắn TV tùy chọn có sẵn tại webite Logitech (logitech.com).
*Mẹo: Để có trường nhìn tối ưu, nên đặt camera bên dưới màn hình hoặc gần tầm mắt người tham gia.
Hướng dẫn kết nối camera hội nghị Logitech MeetUp
Việc kết nối Logitech MeetUp rất đơn giản, dù bạn sử dụng máy tính cố định trong phòng họp hay laptop cá nhân:
Bước 1. Kết nối nguồn điện:

- Cắm cáp nguồn vào Logitech MeetUp và kết nối với ổ cắm điện.
Bước 2. Kết nối với máy tính:

- Sử dụng cáp USB 2.0 đi kèm để kết nối MeetUp với máy tính.
- Nếu cần video 4K, hãy sử dụng cáp USB 3.0 (không đi kèm).
Bước 3. Kết nối TV với máy tính:

- Kết nối TV với máy tính qua cáp HDMI hoặc cáp tương thích khác để hiển thị hình ảnh.
*Lưu ý: Đảm bảo tất cả các cáp được cắm chắc chắn để tránh gián đoạn.
>>>Sơ đồ kết nối tổng quát:

Cách cài đặt MeetUp làm thiết bị mặc định
Để tận dụng tối đa camera hội nghị Logitech MeetUp, bạn cần cài đặt nó làm thiết bị mặc định trong ứng dụng hội nghị truyền hình:
- Mở ứng dụng hội nghị (Zoom, Microsoft Teams, Skype, v.v.).
- Vào phần cài đặt (Settings) của ứng dụng.
- Chọn Logitech MeetUp làm thiết bị mặc định cho:
- Camera
- Loa (Speaker)
- Micro
- Kiểm tra tài liệu của ứng dụng để biết thêm chi tiết về cách cấu hình.
*Lưu ý về video 4K: Cáp USB 2.0 đi kèm chỉ hỗ trợ video Full HD (lên đến 1080p). Để sử dụng video 4K, bạn cần cáp USB 3.0.
Hướng dẫn bắt đầu một cuộc gọi video
Sau khi cài đặt và cấu hình MeetUp làm thiết bị mặc định:
- Mở ứng dụng hội nghị truyền hình của bạn.
- Bắt đầu cuộc gọi như bình thường.
- Tận hưởng chất lượng âm thanh và video vượt trội từ Logitech MeetUp, với trường nhìn siêu rộng và âm thanh rõ nét.
Hướng dẫn ghép nối MeetUp với thiết bị Bluetooth
Logitech MeetUp hỗ trợ ghép nối Bluetooth để thực hiện các cuộc gọi âm thanh. Làm theo các bước sau:
- Bật chế độ ghép nối:
- Nhấn và giữ nút Bluetooth trên điều khiển từ xa cho đến khi đèn LED gần ống kính camera nhấp nháy màu xanh lam.
- Kích hoạt Bluetooth trên thiết bị của bạn:
- Đặt thiết bị di động của bạn (điện thoại, máy tính bảng) vào chế độ ghép nối Bluetooth.
- Chọn “Logitech MeetUp” từ danh sách thiết bị.
- Hoàn tất:
- Sau khi ghép nối thành công, bạn có thể sử dụng MeetUp cho các cuộc gọi âm thanh.
- Ngắt và kết nối lại:
- Nhấn nút Bluetooth trên điều khiển để ngắt kết nối thiết bị (vẫn ở trạng thái “đã ghép nối”).
- Nhấn lại để kết nối lại với thiết bị Bluetooth gần nhất trong phạm vi.
Hướng dẫn ghép nối điều khiển từ xa với camera
Điều khiển từ xa và camera đã được ghép nối sẵn tại nhà máy. Tuy nhiên, nếu cần ghép nối lại (ví dụ: khi thay điều khiển bị mất), hãy làm theo các bước sau:
- Kích hoạt chế độ ghép nối trên camera:
- Nhấn và giữ nút ở mặt sau của camera cho đến khi đèn LED nhấp nháy màu xanh lam.
- Kích hoạt chế độ ghép nối trên điều khiển:
- Nhấn và giữ nút Bluetooth trên điều khiển từ xa trong 10 giây để vào chế độ ghép nối.
- Hoàn tất ghép nối:
- Khi điều khiển và camera được ghép nối thành công, đèn LED sẽ ngừng nhấp nháy.
- Xử lý lỗi:
- Nếu ghép nối thất bại, đèn LED tiếp tục nhấp nháy. Lặp lại từ bước 1.
Mẹo và lưu ý khi cài đặt
- Tương thích ứng dụng: Không phải tất cả ứng dụng hội nghị đều hỗ trợ nút nhận/kết thúc cuộc gọi trên điều khiển từ xa. Kiểm tra tài liệu ứng dụng để xác nhận.
- Bảo mật: Sử dụng rãnh bảo mật để gắn khóa, bảo vệ thiết bị trong phòng họp.
- Mở rộng: Nếu phòng họp lớn, cân nhắc mua micro mở rộng từ Logitech.
Kết luận
Camera hội nghị Logitech MeetUp là giải pháp lý tưởng cho các cuộc họp trực tuyến, với trường nhìn siêu rộng và chất lượng âm thanh vượt trội. Việc cài đặt đơn giản, từ đặt vị trí, kết nối cáp, đến cấu hình thiết bị, giúp bạn nhanh chóng sẵn sàng cho các cuộc họp chuyên nghiệp. Hy vọng hướng dẫn này giúp bạn cài đặt và sử dụng Logitech MeetUp hiệu quả!
Nếu có nhu cầu đặt hàng hay cần tư vấn về Meetup vui lòng gọi đến hotline Ngọc Thiên: 028.777.98.999 để được nhân viên hỗ trợ tốt nhất.
*Bài viết khác: Logitech MeetUp Review: Camera hội nghị phòng nhỏ chất lượng cao
Câu hỏi thường gặp
Logitech MeetUp có thể sử dụng trong phòng họp lớn không?
Có, Logitech MeetUp được thiết kế với trường nhìn siêu rộng và micro tích hợp chất lượng cao, phù hợp cho các phòng họp nhỏ đến trung bình (khoảng 4-6 người). Nếu phòng họp lớn hơn, bạn có thể mua thêm micro mở rộng tùy chọn để tăng phạm vi thu âm.
Tôi cần cáp gì để sử dụng video 4K với Logitech MeetUp?
Cáp USB 2.0 đi kèm trong hộp chỉ hỗ trợ video Full HD (lên đến 1080p). Để sử dụng video 4K, bạn cần mua riêng cáp USB 3.0, vì cáp này không được bao gồm trong bộ sản phẩm.
Làm sao để biết Logitech MeetUp đã được kết nối thành công với máy tính?
Sau khi cắm cáp USB từ MeetUp vào máy tính và kết nối nguồn điện, hãy mở ứng dụng hội nghị truyền hình (như Zoom, Microsoft Teams, v.v.). Vào phần cài đặt và kiểm tra xem Logitech MeetUp đã được chọn làm thiết bị mặc định cho camera, loa và micro hay chưa. Nếu thấy hình ảnh và âm thanh hoạt động, kết nối đã thành công.
Điều khiển từ xa của Logitech MeetUp có thể hoạt động từ khoảng cách bao xa?
Điều khiển từ xa của Logitech MeetUp hoạt động hiệu quả trong phạm vi khoảng 8-10 mét, tùy thuộc vào môi trường phòng họp. Đảm bảo không có vật cản lớn giữa điều khiển và camera để tín hiệu được truyền tốt nhất.
Tôi phải làm gì nếu ghép nối Bluetooth với Logitech MeetUp không thành công?
Nếu ghép nối Bluetooth thất bại, hãy thử các bước sau:
– Nhấn và giữ nút Bluetooth trên điều khiển từ xa cho đến khi đèn LED gần camera nhấp nháy màu xanh lam.
– Đảm bảo thiết bị di động của bạn ở chế độ ghép nối Bluetooth và trong phạm vi 10 mét.
– Chọn “Logitech MeetUp” từ danh sách thiết bị.
Nếu vẫn không thành công, tắt Bluetooth trên thiết bị, khởi động lại MeetUp, và lặp lại quy trình.
Logitech MeetUp có tương thích với tất cả ứng dụng hội nghị không?
Logitech MeetUp tương thích với hầu hết các ứng dụng hội nghị phổ biến như Zoom, Microsoft Teams, Skype, Cisco Webex… Tuy nhiên, một số tính năng như nút nhận/kết thúc cuộc gọi trên điều khiển từ xa có thể không hoạt động với mọi ứng dụng. Hãy kiểm tra tài liệu của ứng dụng để xác nhận mức độ tương thích.
Làm thế nào để vệ sinh và bảo quản Logitech MeetUp?
Có, bạn có thể ghép nối Logitech MeetUp với thiết bị di động qua Bluetooth để thực hiện các cuộc gọi âm thanh mà không cần máy tính. Tuy nhiên, để sử dụng đầy đủ tính năng video và âm thanh cho hội nghị truyền hình, cần kết nối với máy tính qua cáp USB.







